联系我们
- 全国免费服务电话
- 地址:永嘉县瓯北镇东瓯街道张堡工业区
- 电话:0577-67317379、67365232
- 手机:13868647363
- 邮箱:zhongtefamen@163.com
- 传真:0577-67317193
![[field:title/]](/uploads/190413/1-1Z413100A3559.png)
库顶切换阀
来源:铸铁镶铜闸门 发布时间:2019-04-13 10:06 浏览次- 型号:KDF
- 连接形式:法兰
- 主体材料:碳钢、不锈钢
- 公称通径:100-200
- 适用介质:粉粒状物料
- 密封形式:软密封
- 外形:中型
- 流动方向:双向
- 驱动方式:气动
产品说明
一、气动库顶切换阀概述:
气动库顶切换阀安装在仓顶部,作为输送管线料仓间切换之用、具有切换方便,密封性好,结构紧凑,占地空间小的优点,足气力输送系统中重要的部件;该阀采用充气式密封圈,阀芯与密封圈之间无接触,当阀门切换完成后、密封圈充气实现弹性变形进行密封;该阀设有到位开关,并可将开关信号送入PLC,进行远程控制;该阀采用气缸驱动、启闭快速。

二、气动库顶切换阀特点:
阀板、阀座切换挡板、流体通道均采用高性能结构增韧陶瓷制造。
本品利益陶瓷硬度高、耐冲刷、耐高温等优点制造的库顶阀,密封可靠、经久耐用、使用寿命是一般金属切换阀5—10倍。
解决了电厂在高处频繁更换阀门的烦恼,降低了成本,大大减轻了工人的劳动强度,提高了工作效率。
三、气动库顶切换阀工作原理:


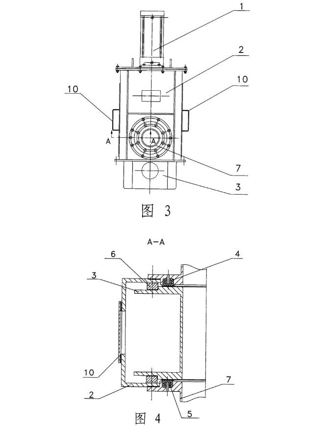
从图1和图2可以看到,本实用新型库顶切换阀阀体2两端装有与输灰管链接的两短管7,阀体的底部与灰库链接,气缸1安装在阀体2上,阀芯3通过链接件与气缸内的活塞相连,短管7伸入阀体2内与阀芯3形成密封面的位置镶嵌装有可控气囊式密封圈4,密封圈4内衬有衬环5。
阀芯3具有两个通道8、9,通过气缸内的活塞带动阀芯3上下移动,使通道8、9换位实现转换阀的三通结构,从图4可以看到,阀体2的两侧还安装有滚轮轴承6,阀芯3的两端立板沿着滚轮轴承6上下移动时不卡涩,并具有一定的限位作用。
当气动库顶切换阀处于图1所示的工作状态时,介质流向通过两端的短管7和阀芯的通道8,为直通方向流动,此时密封圈4内充气,阀门密封,阀门的此工作状态可以将煤灰导入一个库中。
当需要进行换位转换时,密封圈4放气回弹,气缸1的活塞带动阀芯3向上移动,当阀芯3动作到位后,密封圈4内充气变形与阀芯3密封面接触实现密封,此时库顶转换阀处于图2所示工作状态,完成通道8向通道9的转换工作,此时介质流向通过输送管的短管7和阀芯通道9,落入另一个灰库,流通方向为90度,
阀体2前后门上均揩油观察孔10,有利于观察阀芯在阀体内远行状况并及时清除卡涩等。
中特气动库顶切换阀用于燃煤电站气力除灰输送系统多个灰库间的管路转换,具有运行可靠性高、密封性好、运行阻力小、转换速度快等优点,是理想的换代产品。
亲爱的客户:
首先感谢您访问我们的中特官网www.zhongtefamen.com,希望我们的网站能给您提供所需要的阀门信息,如果您对我们的产品还有其他的疑问,建议或者服务,欢迎您随时拨打我们的热线电话13868647363与我们取得联系。我们一定会尽最大的努力给您提供完善优质的服务。最后中特人祝福您,您的满意就是我们最大的荣幸!
产品关键词 :库顶切换阀 气动库顶切换阀 气动圆顶阀 圆顶阀




