联系我们
- 全国免费服务电话
- 地址:永嘉县瓯北镇东瓯街道张堡工业区
- 电话:0577-67317379、67365232
- 手机:13868647363
- 邮箱:zhongtefamen@163.com
- 传真:0577-67317193
![[field:title/]](/uploads/190413/1-1Z413100343424.jpg)
均压放散阀
来源:铸铁镶铜闸门 发布时间:2019-04-13 10:03 浏览次- 型号:QP7420Y
- 连接形式:法兰
- 主体材料:碳钢,不锈钢
- 公称通径:100-1000
- 适用介质:煤气、易燃有害气体
- 密封形式:硬密封
- 外形:中型
- 流动方向:单向
- 驱动方式:液动,气动
产品说明
一、均压放散阀用途:
高炉系统中,普通用均压阀以均衡炉体及大小钟之间的压力。目前,我国大部分高炉脸在沿用六十年代的盘式均压阀,这种结构的阀门体积大、笨重,而且结构松散,这给用户更换带来极大的不便,为了改变这种状况,我公司设计人员根据用户的需求,结合国外的先进技术,研制开发了新型的换代产品--液动均压阀。
这种阀门体积小、重量轻、结构紧凑、启闭灵活,投放市场后,深受广大用户的欢迎。
公称压力:0.05、0.15MPa
适用介质:半净煤气
传动方式:液压传动,压力6-10MPa
输出信号:开关位置信号采用接通开关(电源电压:220V.AC 24V.DC)
产品用途:均压阀,放散阀采用液压传动方式,适用于高炉的放散系统管路,作放散密闭之用,其启闭位置由电信号控制反馈。
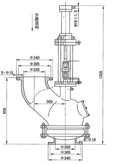
二、均压放散阀结构尺寸图:
:
三、均压放散阀数据:

亲爱的来访客户:
首先感谢您访问我们的中特官网www.zhongtefamen.com,希望我们的网站能给您提供所需要的阀门信息,如果您对我们的产品还有其他的疑问,建议或者服务,欢迎您随时拨打我们的热线电话13868647363与我们取得联系。我们一定会尽最大的努力给您提供完善优质的服务。最后中特人祝福您,您的满意就是我们最大的荣幸!
产品相关关键字:放散阀 均压放散阀 液动放散阀 炉顶放散阀





